Novinky
Zobrazit všechny novinkyBlog
12.02.2026
Elektromateriál
Výpočet průřezu vodiče
Orientační kalkulačka pro výpočet požadovaného průřezu kabelu podle proudu a úbytku napětí.
číst celé
11.11.2025
Elektromateriál
Kabel CYKY-J 3x1,5 mm²: co je a k čemu se používá v elektroinstalaci
Kabel CYKY-J 3x1,5 mm² patří k nejrozšířenějším instalačním kabelům v českých domácnostech i lehké komerci. Je to „základ“ pro světelné okruhy a drobn...
číst celé
10.11.2025
Elektromateriál
Kabel CYKY-J 3x2,5: Vše, co potřebujete vědět o jeho použití v elektroinstalaci
Úvod Kabel CYKY-J 3x2,5 patří v české domovní a lehké komerční elektroinstalaci mezi nejpoužívanější. Většina zásuvkových okruhů 230 V je dimenzována ...
číst celé
Nepropásněte novinky, akce a slevy!
Můžete se kdykoli odhlásit. Zasíláme jednou za 14 dní.
- Úvod
- Kabely a vodiče
- Instalační prvky ke vzdušným vedením
- Kabelové přechodky na střechy
- Tracon TB-1.5 Střešní kabelová průchodka
Tracon TB-1.5 Střešní kabelová průchodka
- Kompletní specifikace
- Hodnocení 0
- Produkty kategorie2
Tracon TB-1.5 Střešní kabelová průchodkado týdne65,00 Kč/ ks53,72 Kč bez DPH
Kompletní specifikace
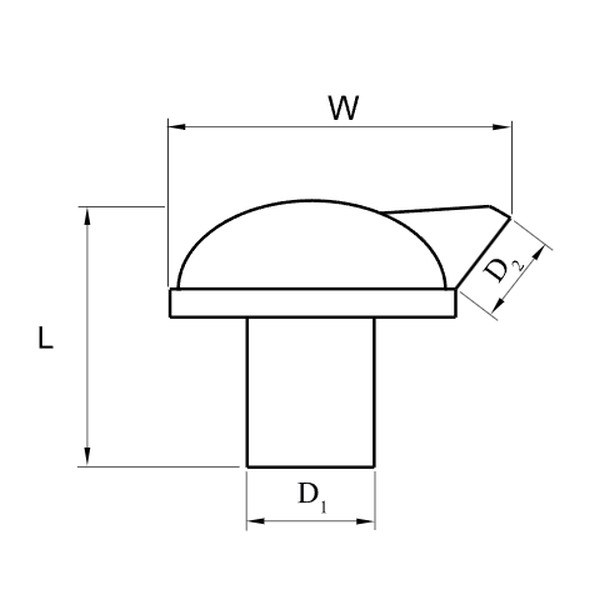
Tracon TB-1.5 Střešní kabelová průchodka 230/400VAC, 1.5coll, slouží pro bezpečný přívod vzdušného vedení elektrického rozvodu do pancéřové ocelové trubky na střeše budov. Současně slouží jako uzávěry do pancéřových trubek, zabraňují vniknutí deště a vody dovnitř.
Při použití ve venkovním prostředí, zabraňuje dvoudílná sestava vnikání atmosférických srážek do svislých trubek.
Dvoudílná sestava, jejich používání zabraňuje vnikání atmosférických srážek do svislých trubek, při použití do venkovního prostředí. Materiál: plast odolný UV záření.
PARAMETRY
Pro průměr kabelu: 30 -30 mm
Průměr otvoru: 38 mm
Rozměr závitu, metrický: 38
Kvalita materiálu: polyamid
Povrch: ostatní
Bez halogenů: Ano
Záruka: 2 roky
- Více informací
| TB-1.5 | 1,5" |
Kód Traconu | Délka (mm) | Š(mm) | D1(mm) | D2(mm) |
TB-1.5 | 115 | 110 | 34(1,5") | 33*41 |
Produkty kategorie 2
0 hodnocení
66,00 Kč
/
ks
54,55 Kč
bez DPH
66,00 Kč
/
ks
54,55 Kč
bez DPH
do týdne
0 hodnocení
68,00 Kč
/
ks
56,20 Kč
bez DPH
68,00 Kč
/
ks
56,20 Kč
bez DPH
do týdne
Zboží zařazeno v kategoriích




