Můžete se kdykoli odhlásit. Zasíláme jednou za 14 dní.
- Úvod
- Vypínače a zásuvky
- Vypínače a zásuvky ABB Swing
- Swing krytí IP 44
- Vypínač Swing ABB 3557G-A07940 D1 křížový č.7, IP 44 s krytem s drápky béžový
Vypínač Swing ABB 3557G-A07940 D1 křížový č.7, IP 44 s krytem s drápky béžový
- TOP produkt
- Kompletní specifikace
- Hodnocení 0
- Produkty kategorie4
Vypínač Swing ABB 3557G-A07940 D1 křížový č.7, IP 44 s krytem s drápky béžovýNení skladem214,00 Kč/ ks176,86 Kč bez DPH
Vypínač Swing ABB 3557G-A07940 D1 křížový č.7, IP 44 s krytem s drápky v béžové barvě.
Pro kompletaci se používají standardní rámečky (3901J-A000.0 ..).
Pro zajištění uvedeného stupně krytí je dovolena montáž do vícenásobných rámečků pouze ve vodorovné orientaci.
IP 44
10 AX, 250 V AC
Upevnění šrouby nebo drápky.
Šroubové svorky (pro vodiče 1-2,5 mm²).
Přístroj splňuje stupeň krytí IP 44 při montáži na svislou, hladkou a neporézní stěnu.
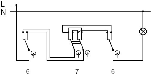
Vypínač řazení č.7 je tzv. křížový vypínač (nebo křížový přepínač), který slouží k ovládání jednoho světelného okruhu z tří a více míst. Používá se v kombinaci se schodišťovými vypínači (č. 6), přičemž vypínače č. 7 se umisťují mezi ně a slouží jako prostřední články pro ovládání světla z většího počtu vstupních bodů, jako jsou například dlouhé chodby či schodiště.
Schéma zapojení křížového vypínače č.7

| Pro tento vypínač jsou doporučené instalační krabice KP 68 s těmito druhy stavebních povrchů. | |













